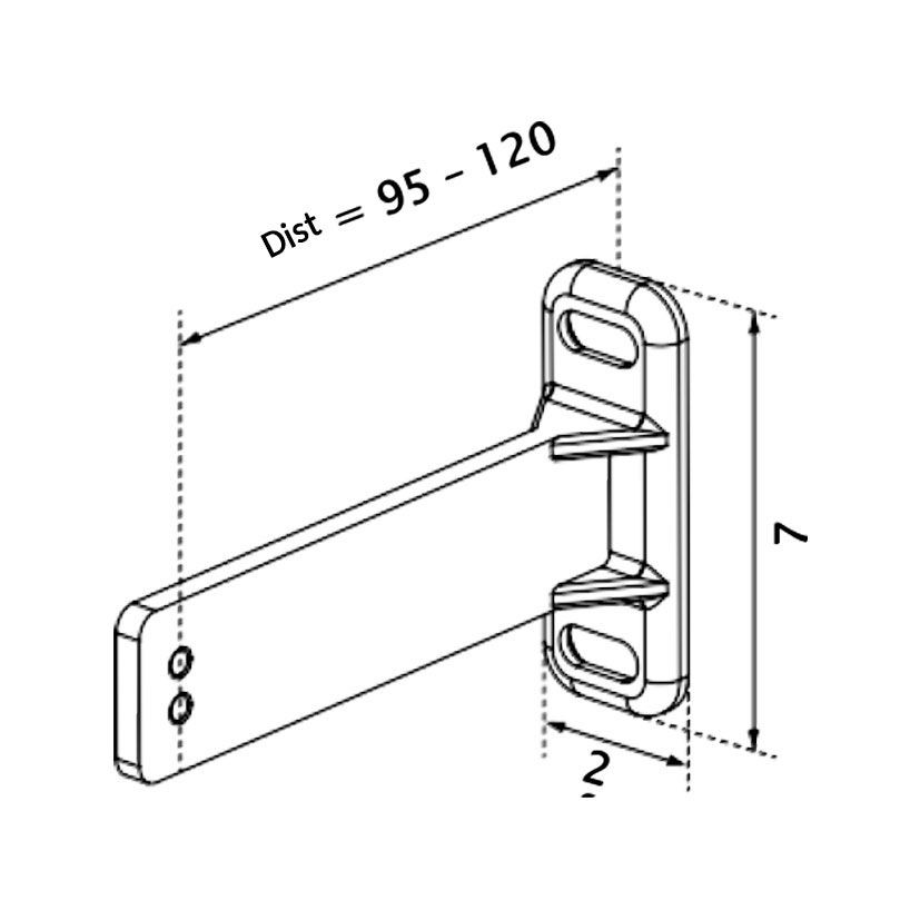
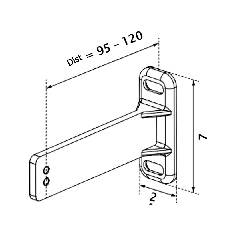
La Persiana veneciana exterior con mayor seguridad. Máximo control solar, seguridad superior y un diseño impecable. Su innovador sistema de ajuste en las guías permite orientar las lamas con total precisión, logrando el equilibrio perfecto entre control solar, seguridad y estética. Gracias a su ajuste directo en las guías, el usuario tiene un dominio completo sobre la orientación de las lamas.
Eficiencia Lumínica: Incrementa hasta un 50% el aprovechamiento de la luz natural y disminuye un 25% el deslumbramiento, gracias al diseño de sus lamas que reflejan la luz solar hacia el techo.
Diseño y Robustez: La curvatura única en "S" de las lamas ofrece un valor estético distintivo para la fachada y, al mismo tiempo, mejora su resistencia mecánica.
Posicionamiento: Solución de alta gama que integra prestaciones optimizadas, consolidándose como la opción de referencia en su categoría.
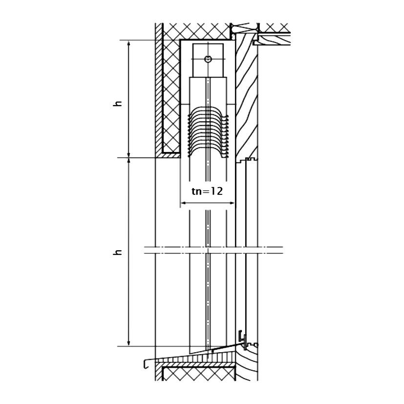
| Altura libre (al) | Altura de repliegue (ar) |
| Manual/Motor | |
| 600-1000 | 245 |
| 1001-1250 | 265 |
| 1251-1500 | 290 |
| 1501-1750 | 320 |
| 1751-2000 | 345 |
| 2001-2250 | 375 |
| 2251-2500 | 395 |
| 2501-2750 | 425 |
| 2751-3000 | 450 |
| 3001-3250 | 470 |
| 3251-3500 | 500 |
| 3501-3750 | 525 |
| 3751-4000 | 550 |
| Individual | Acoplado | |||
|---|---|---|---|---|
| Manual | Motor | Manual | Motor | |
| Altura libre (al) mín. | 0,56 m | 0,56 m | 0,56 m | 0,56 m |
| Altura libre (al) máx. | 4,00 m | 4,00 m | 4,00 m | 4,00 m |
| Ancho de construcción (ac) mín. | 0,60 m | 0,60 m | 0,60 m | 0,60 m |
| Superficie máxima | 8,00 m² | 8,00 m² | 8,00 m² | 20,00 m² |